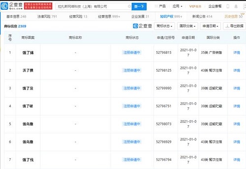
商標侵權時間結束后,餓了么在商標保護方面下了功夫。餓了么經營主體拉扎斯網絡科技(上海)有限公司新增多項商標申請信息。
這些商標包括“餓了伐”、“餓了妹”、“餓了啵”、“餓鳥撒”、“沃了摸”等,國際分類涉及廣告銷售、餐飲住宿、運輸貯藏、餐飲住宿等,商標狀態均為“注冊申請中”。
這些商標多多少少都和餓了么有一定關聯,比如“餓了伐”就是典型的網絡上常見的上海普通話,至于“餓了妹”、“餓了啵”、“餓鳥撒”“沃了摸”這似乎是來自各地方言。
這些商標的國際分類涉及廣告銷售、餐飲住宿、運輸貯藏、餐飲住宿等,狀態均為 “注冊申請中”。


所有客戶信息嚴格保密,保護客戶信息免遭外泄

辦理完成后所有代理材料精心包裝,快遞直達

專業代理人進行注冊查詢,提高申請通過率

所有知識產權服務由專業人士進行操作保證品質

售前咨詢,專業代理人辦案,完善的售后監測服務