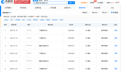
四川嘉唯環境工程有限公司于12月起陸續申請注冊“理塘丁真牦牛肉”、“丁真家牦牛肉”、“丁真牦牛肉”等商標,國際分類均為食品,目前商標狀態顯示為“商標申請中”。

四川嘉唯環境工程有限公司成立于2013年9月,注冊資本300萬人民幣,法定代表人為嚴小玲,經營范圍包括環保工程;環保技術開發、技術咨詢、技術推廣;質量檢測技術服務等。天眼查APP顯示,該公司由李鵬程100%持股。

所有客戶信息嚴格保密,保護客戶信息免遭外泄

辦理完成后所有代理材料精心包裝,快遞直達

專業代理人進行注冊查詢,提高申請通過率

所有知識產權服務由專業人士進行操作保證品質

售前咨詢,專業代理人辦案,完善的售后監測服務