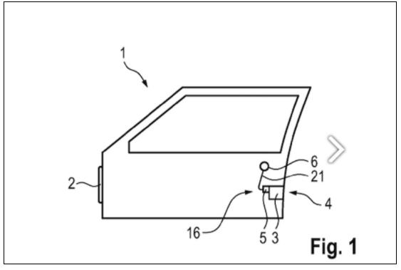
據外媒報道,大眾汽車(Volkswagen)近日為其全新的車門解鎖系統向德國專利商標局(German Patent and Trade Mark Office)申請了專利。
專利中,該車把手在非使用時會沉入門內,使用時會向外突出。當向外移動時,兩個桿狀握把元件會從側面彈起,允許用戶旋轉手柄。
根據大眾汽車應用程序,這款新門鎖旨在實現簡化操作。此外,它還允許將更多的扭矩施加到手柄上,即可更容易扭動帶有兩個尖頭的鎖。
該旋轉門鎖不與實體門鎖耦合,且部分仍然通過執行器以電子方式完成。但該新的專利鎖仍將依靠駕駛員或乘客施加一定的扭矩,然后通知執行器打開車門。

該專利的具體原理如下:當門關閉時,門把手將只不過是一個與車身齊平的小圓形槽。彈簧桿在不使用時會在把手內折回,這意味著車鎖僅占小部分汽車表面積。
該車鎖主要有兩個優勢,其一是其更符合空氣動力學的齊平設計,而汽車越平滑,效率就越高。目前市場上的幾乎所有電動汽車都在盡可能減少阻力。雖然這些車把手可能不會減少太多阻力,但還是會有一點幫助,如或可將大眾ID. Buzz的續航里程增加10英里。
其二是由于車鎖表面積較小,因此顆粒不太可能進入門把手,或可有益于經常經受惡劣條件的汽車。最后,這個門把手或可成為一個重要設計特色。帶有安全門把手的越野車將成為獨特賣點。

所有客戶信息嚴格保密,保護客戶信息免遭外泄

辦理完成后所有代理材料精心包裝,快遞直達

專業代理人進行注冊查詢,提高申請通過率

所有知識產權服務由專業人士進行操作保證品質

售前咨詢,專業代理人辦案,完善的售后監測服務